TM 5-5420-278-24&P
0094
00
UNIT, DIRECT SUPPORT, AND GENERAL SUPPORT MAINTENANCE
REPAIR PARTS AND SPECIAL TOOLS LIST
IMPROVED RIBBON BRIDGE (IRB)
RAMP BAY M16 (NSN 5420-01-470-5825);
INTERIOR BAY M17 (NSN 5420-01-470-5824).
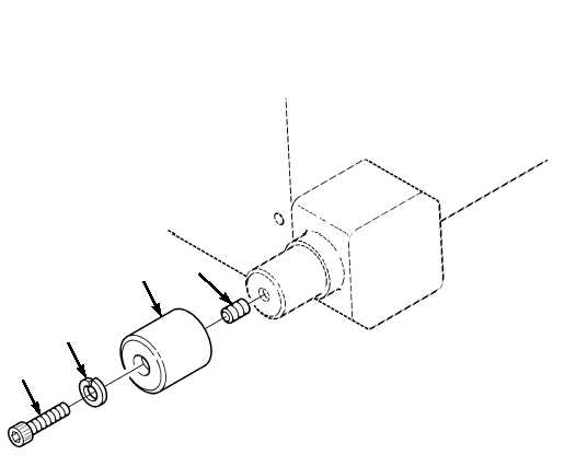
Figure 9. TrunnionWear Cap.
1
2
3
4